Topografia Curvas de Nível?

Publicado por Adenilson Giovanini em

Topografia curvas de nível, conheça o principal produto oriundo de um levantamento planialtimétrico.

você acabou de colocar suas 2 mãos em um artigo definitivo sobre o tema.

Veja um resumo dos assuntos abordados no mesmo:

  • O que são curvas de nível topografia;
  • Como fazer a representação das curvas de níveis;
  • Que profissionais que utilizam mapas com curvas de nível;
  • Qual o procedimento para obtenção de dados para produção de mapas com curvas de nível;
  • Que softwares que produzem curvas de nível topografia e;
  • O erro cometido ao produzir curvas de nível topografia.

Topografia curvas de nível -O que são curvas de níveis

curvas de nível topografia

As topografia curvas de nível ou isoípsas nada mais são do que linhas que unem pontos de mesma altitude.

As mesmas servem de base para a produção de mapas e plantas topográficas, sendo que o grande objetivo da produção de plantas e mapas com curvas de nível é a obtenção de dados tridimensionais da área de interesse.

Ou seja, dados referentes ao relevo de determinada área de interesse.

 

Representação das topografia curvas de nível

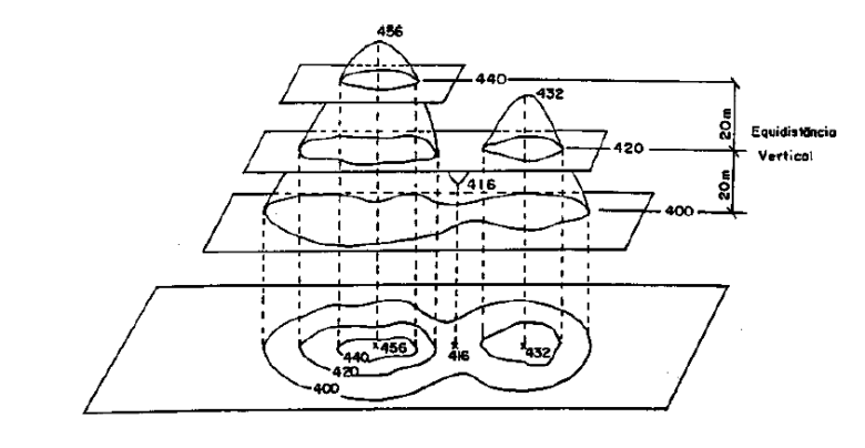
Na imagem abaixo você pode ver o processo de representação do relevo através da utilização de curvas de nível.

curva de nível

Perceba que toda curva de nível é um polígono, ou seja é fechada.

Além disso, que a utilização desta técnica consiste na utilização de linhas que unem pontos de mesma altitude.

Desta maneira, áreas mais montanhosas terão mais curvas de níveis do que áreas menos montanhosas.

representação do relevo artravés de curvas de nível Além disso, você sempre deve levar a escala em consideração. Isso porque normalmente o que se quer com a utilização de curvas de nível é a representação detalhada do terreno.

Com isso, você deve realizar levantamentos cadastrais.

Ou seja, o levantamento de áreas pequenas, representando as mesmas com escalas grandes. Isso porque para a representação de áreas maiores, você será obrigado a utilizar escalas menores e consequentemente, a fazer a generalização dos dados.

Naturalmente, será a aplicação que definirá qual a escala que os dados devem ter e consequentemente o grau de detalhamento do terreno.

 

Tipos de curvas de níveis existentes

tipos de curvas de nível topografia existentes

Existem 2 tipos de curvas de níveis:

  • Curvas de níveis mestras e;
  • Curvas de níveis auxiliares.

As curvas de níveis mestras são curvas mais grossas e numeradas, que devem ocorrer de 5 em 5 curvas de níveis, conforme você pode visualizar na imagem acima.

 

Que profissionais que utilizam plantas com curvas de nível

utilização de curvas de nível em obra

A produção de plantas com curvas de nível é necessária principalmente em projetos arquitetônicos.

Isso porque os engenheiros e arquitetos precisam de informações detalhadas da topografia do terreno para melhor adequarem seus projetos.

Desta maneira, os mesmos, tendo como base a planta, planejam o local correto para a construção das diferentes estruturas. Também utilizam os dados referentes as curvas de nível para o cálculo dos volumes de corte e aterro.

Qual o procedimento para obtenção de dados para produção de mapas com curvas de nível

levantamento topográfico com estação total

A produção de mapas com curvas de níveis necessita do levantamento planialtimétrico cadastral do terreno.

No caso, cadastral significa com um grande adensamento de dados. Isso porque ao fazer a obtenção de dados, o profissional precisa mapear tantos dados quantos forem necessários para a correta representação do terreno.

Perceba que a produção de plantas e mapas com curvas de nível nada mais é do que um processo de abstração matemática do terreno, no qual um agrimensor precisa obter tantos dados quantos forem necessários.

Entre os equipamentos que podem serem utilizados para a obtenção dos dados necessários estão:

Lembrando que a viabilidade da utilização de drones dependerá da existência ou não de mato no local. Isso porque se o local possui vegetação densa, não será possível a utilização de drones.

Que softwares que produzem topografia curvas de nível

mapa com curvas de nível

Após serem obtidos, os dados precisam serem levados para um software que fará o correto tratamento dos mesmos e a produção das curvas de nível através da interpolação dos dados.

Na realidade, normalmente os dados precisam passar por mais de um software.

Por exemplo, dados obtidos com receptores GNSS, precisam primeiramente serem processados e ajustados, para somente depois serem migrados para um software de Topografia ou Geoprocessamento, no qual as curvas de nível serão interpoladas.

Quanto a softwares que fazem a interpolação dos dados, temos vários no mercado.

Entre eles:

 

Não cometa este erro ao produzir curvas de nível para topografia

Não cometa este erro ao produzir curvas de nível topografia

Conforme informei anteriormente, será a aplicação que definirá qual escala os dados terão.

Por exemplo, o IBGE e a DSG realizaram o mapeamento sistemático nacional, cujo objetivo foi a construção de um base cartográfica nacional.

O mesmo compreende as seguintes escalas:

  • 1/1.000.000;
  • 1/500.000;
  • 1/250.000;
  • 1/100.000;
  • 1/50.000 e;
  • 1/25.000.

Olhe para uma carta na escala de 1:250.000

carta topográfica na escala de 1:250.000

Perceba que devido a escala utilizada, algumas poucas curvas de nível aparecem.

Agora olhe para uma carta na escala de 1:25.000.

carta topográfica na escala de 1:25.000

 

Perceba que existe um número muito maior de curvas de nível.

Isso porque como a escala é maior, é possível ter-se um maior detalhamento do terreno.

Agora cuide a linha vermelha na imagem abaixo.

erro cometido na produção de curvas de nível topografia

Perceba que existe uma grande discrepância entre a mesma e o rio.

Em um primeiro momento, você pode pensar que a linha vermelha está errada.

Porém, a mesma está certa, representando o rio de maneira fidedigna.

No caso, o que está errado é a escala. Isso porque a linha vermelha corresponde ao eixo do rio em uma escala de 1:50.000.

Por outro lado, a imagem do Google Earth está em uma escala muito maior. Isso torna perceptível o impacto da generalização dos dados.

Logo tome cuidado quanto a isso. Você quer produzir produtos cartográficos e curvas de nível que possuam uma escala grande?

Os dados de entrada devem possuir um detalhamento do terreno correspondente a escala que seu produto cartográfico deve ter.

Lembre-se Geo + processamento. Ou seja, processamento de dados Geoespaciais.

Toda operação de geoprocessamento, gera produtos a partir dos dados que você utilizou como dados de entrada.

geoprocessamento

Perceba a qualidade do produto final está diretamente relacionada a qualidade dos dados de entrada.

Muito mais do que isso, perceba que é você quem define quais dados utilizará no projeto.

Lembre-se, se entra lixo, saí lixo.

Logo, tenha muito cuidado quanto aos dados utilizados.

 

Topografia curvas de nível – Aula sobre o tema

No meu canal no youtube, eu possuo mais de 520 vídeos sobre Engenharia de Agrimensura.

Entre eles, um vídeo cirúrgico a respeito de curvas de níveis. Segue o mesmo:

Espero que este artigo tenha sido útil e relevante para você.

Se você quer MERGULHAR FUNDO e aprender a prestar serviços com grande velocidade e com segurança, acesse este link e conheça os mesmos.

Entre eles, o Curso de Confecção de Plantas Topográficas. Um curso prático com o qual você vai aprender a produzir as 15 diferentes plantas produzidas em um escritório de topografia.

Clique neste link e conheça melhor o mesmo.

Gratidão por você ter lido o artigo. 🙏

 

 

 


Adenilson Giovanini

O Professor Adenilson Giovanini é especialista em Topografia Cadastral e Georreferenciamento de Imóveis Rurais. O mesmo possui o Maior Site de Engenharia de Agrimensura do Brasil. Site este que tem mais de 102.000 visualizações por mês. Também possui mais de 600 vídeos em seu canal no youtube. Além disso, é escritor Best Seller, possuindo vários cursos e livros de sucesso.